Главная Случайная страница


Полезное:

Как сделать разговор полезным и приятным Как сделать объемную звезду своими руками Как сделать то, что делать не хочется? Как сделать погремушку Как сделать так чтобы женщины сами знакомились с вами Как сделать идею коммерческой Как сделать хорошую растяжку ног? Как сделать наш разум здоровым? Как сделать, чтобы люди обманывали меньше Вопрос 4. Как сделать так, чтобы вас уважали и ценили? Как сделать лучше себе и другим людям Как сделать свидание интересным?


Категории:

АрхитектураАстрономияБиологияГеографияГеологияИнформатикаИскусствоИсторияКулинарияКультураМаркетингМатематикаМедицинаМенеджментОхрана трудаПравоПроизводствоПсихологияРелигияСоциологияСпортТехникаФизикаФилософияХимияЭкологияЭкономикаЭлектроника






Усиление оснований





При проектировании объектов реконструкции необ­ходимо выполнить проверку влияния возводимых сооружений на осадки существующих. При ленточных и столб­чатых фундаментах эту проверку можно не производить, если грунты основания в пределах сжимаемой толщи имеют средний модуль деформаций Е 15 МПа и рас­стояние между краями новых и существующих фунда­ментов l 0,25 Нс, где Нс — глубина сжимаемой толщи, определенная в соответствии с требованиями СНиП 2.02.01—83. Если фундамент нового сооружения выпол­нен из сплошной плиты, расчет дополнительных осадок существующих зданий не производится при Е 30 МПа и l 0,5 Нс.

Для исключения влияния вновь возводимых соору­жений на существующие рекомендуется выполнять раз­делительные стенки, консольные фундаменты, рациональ­но размещать новые фундаменты относительно сущест­вующих. В этом случае расчет влияния новых сооруже­ний на существующие не производится.

Новые фундаменты, как правило, необходимо закла­дывать на одной отметке с существующими. При зало­жении новых фундаментов ниже существующих необхо­димо соблюдать соответствующие требования главы СНиП 2.02.01—83 по проектированию оснований зданий и сооружений. При невозможности соблюдения этих тре­бований до отрывки котлована должны быть выполнены ограждения в виде шпунта, свай, «стена в грунте», ко­торые обеспечивают устойчивость основания существу­ющего фундамента. Закрепление грунтов возможно так­же с помощью химических методов (силикатизации, смолизации), цементизацией и термическим обжигом.

При выполнении реконструкции сооружений, распо­ложенных на подрабатываемых территориях или на просадочных грунтах, необходимо обратить особое внимание на надежное опирание и крепление плит покрытия и пе­рекрытий, стропильных конструкций, подкрановых балок, стеновых панелей, связей, а также на правильное выпол­нение деформационных швов.

При увеличении нагрузок на существующие фунда­менты рекомендуется также устройство ограждающей конструкции из свай или шпунтов. При этом не допус­кается отрыв подошвы фундамента от основания.

Устройство свай (шпунтов) для усиления основания не рекомендуется в слабых грунтах (рыхлых песках, гли­нистых при показателе текучести Jh = 1, илах, торфах и т.п.).

Силикатизация усиливаемого основания применяется при пылевато-глинистых грунтах со степенью влажности не выше 0,75, а также в насыпных и песчаных грунтах. Этот метод особенно эффективен при невозможности ос­тановки технологического процесса, а также в аварий­ных ситуациях и при стесненных условиях производства работ по усилению оснований и фундаментов. Укрепле­ние основания силикатизацией не допускается в грунтах, пропитанных нефтяными продуктами и маслами.

Укрепление грунтов термическим способом рекомен­дуется в глинистых грунтах с числом пластичности JР =0,05...0,20 при условии, если они расположены выше установившегося уровня грунтовых вод.

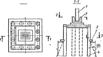
При устройстве по периметру фундамента ограждаю­щей конструкции из свай или шпунтов несущая способ­ность основания существенно возрастает. Это происходит за счет трения между грунтом и ограждением, в резуль­тате часть вертикальной нагрузки от грунтового ядра передается на сваи (шпунты). Последние, в свою очередь, вовлекают за счет трения по боковой поверхности массив грунта, окружающий стенки, причем зона вовлекаемого в работу грунта линейно возрастает с глубиной под уг­лом φ/4 (рис. 8.1).


2-2

Рис. 8.1. Усиление основания ограждающими сваями: 1— колонна; 2 — фундамент: 3 — обвязочная балка; 4 — сваи усиления

Кроме того, часть вертикальной нагрузки от фунда­мента передается через ограждение на грунты, лежащие ниже свай (шпунтов), которые, как правило, имеют зна­чительно более высокое допускаемое давление, чем грунт под подошвой фундамента. При устройстве ограж­дения следует стремиться к тому, чтобы расстояние между сваями (шпунтом) и обрезом усиливаемого фун­дамента было минимальным из условия производства ра­бот. Расстояние между осями свай определяется из усло­вия, что грунт в момент продавливания переходит в пла­стическое состояние.

При сплошном расположении свай (шпунтов) ограж­дение рассчитывается по методике, аналогичной расчету силосных емкостей. При этом коэффициент бокового давления λу принимается для одного и того же грунта постоянной величиной, не зависящей от глубины (λу =tg2(45°-φ/2)<l).

При ограждении из одиночных свай последние рас­считываются на горизонтальную нагрузку в соответствии с рекомендациями СНиП II-17—77. В этом случае сваи принимаются идеально упругими, а грунт идеализирует­ся (имитируется) винклеровым основанием с коэффици­ентом постели, линейно возрастающим по глубине. He­сущая способность усиливаемого основания определяется максимальной горизонтальной нагрузкой на ограждаю­щую, конструкцию (сваю).

При усилении основания контурным ограждением ре­комендуется устройство по верху ограждения обвязочной балки. Это приводит к снижению перемещений свай и изгибающих моментов по их длине, в результате несу­щая способность усиления существенно возрастает.







Date: 2015-06-07; view: 933; Нарушение авторских прав



mydocx.ru - 2015-2026 year. (4.581 sec.) Все материалы представленные на сайте исключительно с целью ознакомления читателями и не преследуют коммерческих целей или нарушение авторских прав - Пожаловаться на публикацию