Главная Случайная страница


Полезное:

Как сделать разговор полезным и приятным Как сделать объемную звезду своими руками Как сделать то, что делать не хочется? Как сделать погремушку Как сделать так чтобы женщины сами знакомились с вами Как сделать идею коммерческой Как сделать хорошую растяжку ног? Как сделать наш разум здоровым? Как сделать, чтобы люди обманывали меньше Вопрос 4. Как сделать так, чтобы вас уважали и ценили? Как сделать лучше себе и другим людям Как сделать свидание интересным?


Категории:

АрхитектураАстрономияБиологияГеографияГеологияИнформатикаИскусствоИсторияКулинарияКультураМаркетингМатематикаМедицинаМенеджментОхрана трудаПравоПроизводствоПсихологияРелигияСоциологияСпортТехникаФизикаФилософияХимияЭкологияЭкономикаЭлектроника






Расчет оснований





Расчет оснований и фундаментов на просадочных грунтах производится по деформациям, исходя из условия

s + ssls`u (1.15)

где s – совместная деформация основания и здания или сооружения, определяемая как для обычных непросадочных грунтов в соответствии с их деформативными характеристиками, полученными при естественной влажности; ssl - деформация основания, вызванная просадкой грунта; s`u - предельно допустимая совместная деформация основания и здания или сооружения, принимаемая равной:

s`u = su γs; (1.16)

здесь su - предельно допустимая деформация основания при неравномерной осадке фундаментов, определяемая как для обычных непросадочных грунтов; γs - коэффициент условий работы, учитывающий вероятность одновременного сочетания наиболее неблагоприятных условий по просадке и осадке и принимаемый: при ssl < 2 s γs = 1, а при ssl > 2 s γs = 1,25.

Выполнение условия (1.15) и тем самым обеспечение прочности, устойчивости и нормальной эксплуатации зданий и сооружений осуществляется применением одного из следующих трех принципов:

устранения просадочных свойств грунтов путем их уплотнения (тяжелыми трамбовками, вытрамбовыванием котлованов, устройством грунтовой подушки, предварительным замачиванием, взрывами, пробивкой скважин) или закрепления (силикатизацией, обжигом);

прорезки просадочных грунтов свайными фундаментами (из забивных, буронабивных свай, набивных свай в пробитых скважинах, свай в эластичных оболочках, уплотненном грунте и др.) или столбами из закрепленного грунта;

комплекса мероприятий, включающего подготовку оснований, водозащитные и конструктивные мероприятия по расчету конструкций зданий и сооружений на прочность.

Первые два принципа направлены на полное устранение или снижение просадочных деформаций до предельно допустимых величин, а третий – на приспособление зданий и сооружений к возможным неравномерным просадкам грунтов в основаниях.

Выбор одного из принципов производится с учетом особенностей и типа грунтовых условий, вероятности замачивания грунтов основания, возможной величины просадки, жесткости и прочности проектируемых зданий и сооружений, их взаимосвязи с соседними объектами и коммуникациями и т.п.

В случаях, когда замачивание грунтов оснований исключается и возможно только медленное повышение их влажности, основания и фундаменты проектируются как на обычных непросадочных грунтах.

Расчетные сопротивления просадочных грунтов естественного сложения определяются в зависимости: от возможности и вида источника замачивания; от принятого метода обеспечения прочности и эксплуатационной пригодности зданий и сооружений; от конструкции, ширины и глубины заложения фундаментов; от прочностных характеристик грунтов основания. При отсутствии возможности замачивания просадочных грунтов прочностные характеристики грунтов должны приниматься:

при ω≥ωр – по результатам испытания грунтов в состоянии природной влажности ω;

при ω<ωр – по результатам испытания грунтов при влажности на границе раскатывания ωр.

Расчетное сопротивление грунта основания R при возможном замачивании просадочных грунтов сверху или при подъеме уровня грунтовых вод определяется с учетом следующих требований:

при устранении возможности возникновения просадки оснований от нагрузки фундаментов путем снижения давления на грунт значение R не должно превышать величины начального просадочного давления рsl;

при обеспечении прочности зданий и сооружений применением комплекса водозащитных и конструктивных мероприятий, назначаемых по расчету на возможные суммарные величины осадок и просадок основания, значение R определяется по формуле с использованием расчетных значений характеристик φl1 и сl1, полученных для просадочных грунтов в водонасыщенном состоянии после их просадки;

при уплотнении и закреплении просадочных грунтов различными методами значение R определяется по формуле с использованием расчетных значений характеристик φl1 и сl1, полученных для уплотненных и закрепленных до заданной плотности и прочности грунтов в водонасыщенном состоянии.

Предварительные размеры фундаментов зданий и сооружений, возводимых на просадочных грунтах, назначаются исходя из условных значений расчетных сопротивлений грунта R0 (табл.1.3).

ТАБЛИЦА 1.3. УСЛОВНЫЕ РАСЧЕТНЫЕ СОПРОТИВЛЕНИЯ

ПРОСАДОЧНЫХ ГРУНТОВ

Грунт R0, кПа, грунтов
природного сложения с γd, кН/м3 уплотненных с γd com, кН/м3
13,5 15,5    
  Супесь   Суглинок   Глина              

П р и м е ч а н и я: 1. Над чертой даны значения, относящиеся к просадочным грунтам природного сложения со степенью влажности Sr ≤0,5 и при невозможности их замачивания; в знаменателе под чертой – значения, относящиеся к таким же грунтам со степенью влажности Sr ≥0,8, а также к грунтам с меньшей степенью влажности и при возможности их замачивания.


2. Для просадочных грунтов с промежуточными значениями γd значения R 0 определяются интерполяцией.

 

При полном устранении просадочных свойств грунтов уплотнением или закреплением различными методами необходимо обеспечить, чтобы суммарное давление на кровлю подстилающего неуплотненного или незакрепленного слоя не превышало начального просадочного давления рsl этого слоя, т.е. рsl ≤σzg + σ2p. В этом случае расчетное сопротивление Rс на уплотненный или закрепленный грунт по условию устранения просадки подстилающего слоя определяется по формуле

Rс = (рsl - рzg + αрg)/α, (1.17)

где σ2p – дополнительное напряжение на кровле подстилающего неуплотненного или незакрепленного слоя просадочного грунта от нагрузки фундамента; рzg - природное давление на кровле этого слоя; рg - природное давление на отметке заложения фундамента; α - коэффициент уменьшения дополнительного давления от фундамента на кровле неуплотненного или незакрепленного слоя.

 

 

Рис.1.4. Схема и расчетные параметры фундаментов и зданий на просадку от собственного веса грунта

 

Расчет конструкций фундаментов зданий на просадку от собственного веса ssl.g производится для наиболее неблагоприятного случая расположения источника замачивания под центром здания. Расчетная модель основания принимается в виде искривленного винклеровского основания с условным радиусом кривизны Rс и коэффициентом средней жесткости km (рис.1.4):

Rc = (1.18)

km = kkk, (1.19)

где ksl – безразмерный коэффициент, принимаемый численно равным ssl.g в м; k - коэффициент жесткости основания:

k = q/s, (1.20)

(здесь q – средняя расчетная равномерно распределенная нагрузка на основание; s – средняя осадка фундамента); kk – коэффициент снижения жесткости основания, вычисляемый в зависимости от полудлины здания L по формулам:

при r ≥ L

kk = 1/αII; (1.21)

при r < L

kk = 1 – , (1.22)

где

αII = 1 + , (1.23)

здесь hsl.g – величина зоны просадки грунта от собственного веса (рис.1.1); Нс – величина сжимаемой зоны основания под фундаментом.

Максимальные величины изгибающих моментов М и перерезывающих сил в фундаментах и зданиях при просадках грунтов от собственного веса определяется по выражениям:

Мmax = ; (1.24)

Qmax = ; (1.25)

где

R`с = Rc(1 + ξ); (1.26)

ξ = ; (1.27)

ξ= 0 – при отношении высоты фундамента или здания к их длине (2 L), большем 0,75 ξ; EI и GF – изгибная и сдвиговая жесткости фундамента или здания, приведенные к балке конечной жесткости.

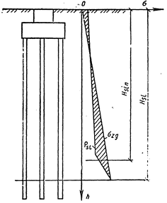
Расчет дополнительных нагрузок на сваи Fn от сил нагружающего трения, возникающих при просадках окружающих сваи грунтов, производится при полном водонасыщении грунта по формуле (рис.1.5):


Fn = , (1.28)

где А – площадь взаимодействующего со сваей окружающего грунта природной структуры; γsat.i - удельный вес грунта в водонасыщенном состоянии; ni - толщина i -го слоя, на которое разбита толща просадочного грунта Нsl, в пределах которой проявляются силы нагружающего трения; psl.i - начальное просадочное давление i -го слоя грунта.

 

Рис.1.5. К определению дополнительной нагрузки на сваю по дефициту несущей способности просадочного грунта (заштрихованная область)

 

 

Площадь взаимодействующего со сваей грунта А определяется в зависимости от расположения свай и принимается:

для одиночной сваи

А = π(0,4Н)2/4 – Аcom; (1.29)

для средней сваи в кусте

Аm = l2 – Аcom; (1.30)

для крайней сваи в кусте

Ар = (0,5l + 0,2H)l – Аcom; (1.31)

для угловой сваи в кусте

Аcor = π(0,5l + 0,2H)2/4 – Аcom; (1.32)

для cредней сваи в ленточном фундаменте

Аf = l(0,2Н) – Аcom; (1.33)

где l – расстояние между сваями; Аcom – площадь уплотненного вокруг сваи грунта: Аcom= 0,25 π(2,5d)2; здесь d – приведенный диаметр сваи.

Глубина толщи просадочного грунта, в пределах которой проявляются силы нагружающего трения,

Нsl.n = Hsl – s`sl.g/ εsl, (1.34)

где s`sl.g – предельно допустимая просадка грунта от собственного веса при воздействии на сваю, принимаемая равной 3 см; εsl – относительная просадочность нижних слоев просадочной толщи.

Вычисленные дополнительные нагрузки на сваю от сил нагружающего трения по формуле (1.28) не должны превышать значений дополнительной нагрузки F`n, определяемой по формуле

F`n = γсu , (1.35)

где γс и γсf – коэффициенты условий работы, применяемые по СНиП II-17-77; u – периметр ствола сваи; fni – расчетная сила нагружающего трения по боковой поверхности сваи, принимаемая численно равной fi по СниП II-17-77, при полном водонасыщении грунта.

Пример 1.2. Определить размеры фундаментов под колонны здания, возводимого на уплотненных тяжелыми трамбовками просадочных грунтов с 1 типом грунтовых условий. Исходные данные по грунтам: γd =14,5 кН/м3, psl =0,16 МПа, γd.com =17 кН/м3, γII =19,5 кН/м3, γ`II =18 кН/м3, cII =0,035 МПа, φII =22°, hcom = 3 м, d =2 м, γF = 22 кН/м3. Исходные данные по нагрузкам: Fυ =1250 кН; М =120 кН·м, Fh = 40 кН.

Решение. Определяем предварительные размеры фундамента по условному расчетному сопротивлению R0 =0,3 МПа (см.табл.1.3):

А = Fυ / R0 = 1250/0,3·100 = 4,2 м2;

принимаем b = 2 м, l = 2,4 м, А = 4,8 м2.

Вычисляем расчетное сопротивление на уплотненный грунт: R =0,4 МПа.

Находим по формуле (1.17) расчетное сопротивление на уплотненный грунт по условию устранения просадки подстилающего неуплотненного лессовидного суглинка естественного сложения при α = 0,207:


Rс = (0,16 – 0,095 + 0,07)/0,207 = 0,35 МПа.

Сопоставляя значения R =0,4 МПа и Rс =0,35 МПа, для расчета размеров подошвы фундамента принимаем минимальное значение: R =0,35 МПа.

Определяем среднее и краевые давления по подошве фундамента при площади подошвы фундамента А=b·l =2·2,4=4,8 м2, собственном весе фундамента G=AdγF =4,8·2·22=212 кН, моменте от горизонтальной силы Мh=Fhd =40·2=80 кН и моменте инерции подошвы фундамента: W=bl2/6 =2·2,42/6=1,92 м3:

σ=(Fυ + G)/A ± (М + Мh)/W = (1250 + 212)/4,8±(120 + 80)/1,92=30,4±110 кН/м2=0,301 МПа;

σm =0,304 МПа; σmax =0,414 МПа < 0,35·1,2=0,42 МПа; σmin =0,194 МПа.







Date: 2015-06-07; view: 954; Нарушение авторских прав



mydocx.ru - 2015-2026 year. (2.573 sec.) Все материалы представленные на сайте исключительно с целью ознакомления читателями и не преследуют коммерческих целей или нарушение авторских прав - Пожаловаться на публикацию