Главная Случайная страница


Полезное:

Как сделать разговор полезным и приятным Как сделать объемную звезду своими руками Как сделать то, что делать не хочется? Как сделать погремушку Как сделать так чтобы женщины сами знакомились с вами Как сделать идею коммерческой Как сделать хорошую растяжку ног? Как сделать наш разум здоровым? Как сделать, чтобы люди обманывали меньше Вопрос 4. Как сделать так, чтобы вас уважали и ценили? Как сделать лучше себе и другим людям Как сделать свидание интересным?


Категории:

АрхитектураАстрономияБиологияГеографияГеологияИнформатикаИскусствоИсторияКулинарияКультураМаркетингМатематикаМедицинаМенеджментОхрана трудаПравоПроизводствоПсихологияРелигияСоциологияСпортТехникаФизикаФилософияХимияЭкологияЭкономикаЭлектроника






Електропостачання індукційних установок





Індукційні плавильні чи нагрівні установки складаються з таких компонентів: джерело живлення; узгоджувальний пристрій (трансформатор, автотрансформатор); конденсаторної батареї для компенсації реактивної потужності; індуктора плавильної чи нагрівної установки; апаратури захисту, регулювання та автоматичного керування; механізмів навантаження та переміщення садки.

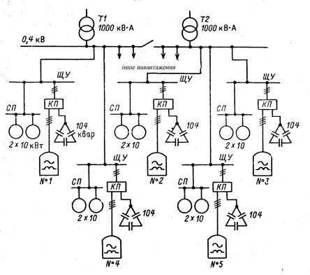
За частотою струму установки індукційного нагрівання поділяють на установки промислової, підвищеної та високої частоти. Більшість канальних і тигельних печей живляться від електричної мережі 220, 380 чи 660 В через пічні трансформатори, а потужні – від мережі 6-10 кВ через понижувальні трансформатори. На рис. 5.14 наведена схема електропостачання канальних печей від мережі 0,4 кВ. Разом з індуктором печі від контактної панелі КП вмикається й конденсаторна батарея. Від того ж щита живиться й обладнання силового пункту – вентилятори.

Детальна схема електропостачання канальної печі для виплавлення цинку наведена на рис. 5.15. Індуктор живиться від мережі 6 кВ через понижувальний трансформатор Т1, а на час висушування футерування може живитися через автотрансформатор Т2 з глибоким регулюванням напруги (до 12 ступенів регулювання, потужністю 40-50 % від номінальної потужності печі). Конденсаторна батарея С підбирається для оптимальної компенсації реактивної потужності печі ИКЦ.

На стороні вищої напруги трансформатора Т1 знаходиться захист від перевантаження (ТА2, КА) та прилади вимірювання й обліку (рис. 5.15). Вимірні прилади V, A, φ розташовані й у колі обмотки нижчої напруги трансформатора.

Відповідно до вимог Правил влаштування електроустановок для покращення використання трансформаторів (перетворювачів) встановлюється конденсаторна батарея компенсації реактивної потужності, яка повинна мати дві частини – постійну і регульовану. Взаємне розташування компонентів установок повинно забезпечувати мінімальну довжину струмопроводів (для зменшення активного та індуктивного опорів). Не допускається використання кабелів зі стальною бронею чи прокладання проводів у трубах для установок з частотою понад 10 кГц, оскільки броня може нагріватися у зовнішньому електромагнітному полі.

 

Рис. 5.14. Схема електропостачання індукційних канальних печей для плавлення цинку

 

На рис. 5.16,а наведена схема електропостачання тигельних печей від цехової мережі 0,4 кВ з використанням індивідуальних автотрансформаторів. Зважаючи на „спокійний” характер навантаження таких печей, паралельно з ними живиться й інше навантаження.

На рис. 5.16,б зображена схема електропостачання однієї печі зі встановленою апаратурою для контролю параметрів режиму, а також з апаратурою регулювання та контролю стану конденсаторів реактивної потужності.

У трифазних мережах тигельні печі, як однофазне навантаження можуть створювати недопустимий рівень несиметрії (викликати перевищення допустимих значень напруги і струму зворотної послідовності). На рис. 5.16,в наведена схема електропостачання тигельної печі з пристроєм симетрування режиму за схемою Штейметца (СС, L), а також показані блоки автоматичного регулювання системи симетрування – АРИС, регулювання режиму печі – АРИР та перемикання РПН трансформатора.

Індукційні установки підвищеної частоти живляться від перетворювачів трифазного струму промислової частоти у однофазний струм підвищеної частоти. До таких установок відносяться електромашинні перетворювачі, статичні помножувачі та перетворювачі частоти. На рис. 5.17 наведена схема статичного тиристорного перетворювача, який побудований за схемою „випрямляч – автономний інвертор”. Схема розділена на блоки: шафа живлення з комутаційною апаратурою, блок згладжу вальних реакторів, які згладжують випрямлений струм, інвертор, що перетворює постійний струм у змінний для живлення індуктора. Це перетворювач з явно вираженою ланкою постійного струму. Недоліком такого генератора є генерування у мережу струмів вищих гармонік. Ця обставина зумовлює необхідність їх підключення до мереж з низьким внутрішнім опором, або застосування фільтро-компенсувальних пристроїв.

 

Рис. 5.15. Схема електропостачання індукційної канальної печі

 

 

 

Рис. 5.16. Схема електропостачання індукційних тигельних печей (а), схема живлення одної тигельної печі (б), схема живлення печі з симетрувальним пристроєм (в): РПН – перемикання під напругою; АРИС – регулятор симетрувального пристрою; АРИР – регулятор режиму


 

Рис. 5.17. Схема тиристорного перетворювача частоти:

І – шафа живлення; ІІ – випрямляч; ІІІ – блок реакторів; ІV – інвертор; V – індуктор зі садкою; БП – блок пуску; С – конденсатор; L – згладжувальний реактор

 

Для індукційного нагрівання на високих частотах (50–5000 кГц) використовуються лампові генератори (рис. 5.18). Генератори потужністю понад 20 кВт виготовляються у вигляді чотирьох окремих блоків.

Рис. 5.18. Схема лампового генератора:

1 – блок живлення; 2 – випрямний блок; 3 – блок генератора; 4 – блок навантаження; Тр – трансформатор; В – вентилі; Ср – роздільний конденсатор; С1,2,3 – конденсатори коливного та навантажувального контура; LК – коротко-замкнута котушка; L1,2 – індуктивності контурів зв’язку та навантажувального; И – індуктор; ЛГ – генераторна лампа

 

Силовий трансформатор підвищує напругу мережі до 6000–9000 В, випрямляч на тиратронах перетворює її у постійну 9000–15000 В. Ламповий генератор складається з одної чи кількох триелектродних ламп і перетворює постійну напругу у напругу високої частоти.

Установки високої частоти повинні бути екрановані для зниження рівня напруженості електромагнітного поля на робочих місцях.

 







Date: 2015-06-06; view: 1138; Нарушение авторских прав



mydocx.ru - 2015-2026 year. (0.335 sec.) Все материалы представленные на сайте исключительно с целью ознакомления читателями и не преследуют коммерческих целей или нарушение авторских прав - Пожаловаться на публикацию